YS-ZB-4255ST 薄膜套袋机

描述
热收缩机也称收缩机,热收缩包装机,是目前市场比较先进的包装方法之一。采用 收缩膜包裹在产品或包装件外边,经过加热使收缩薄膜裹紧产品或包装件,充分显 示物品外观、提高产品的展销性、增加美观及价值感
技术参数
电源:1P AC220V 50 / 60Hz 3.0KW(最大)
机器尺寸:L1270mm×W750mm×H1170mm
包装速度:4-8 件/分钟
工作台高度(含支架):920mm
机器重量:95kg
支架重量:20kg
封口尺寸:420×550 mm
可选项:①辊筒机构②收废膜机构③网带机构
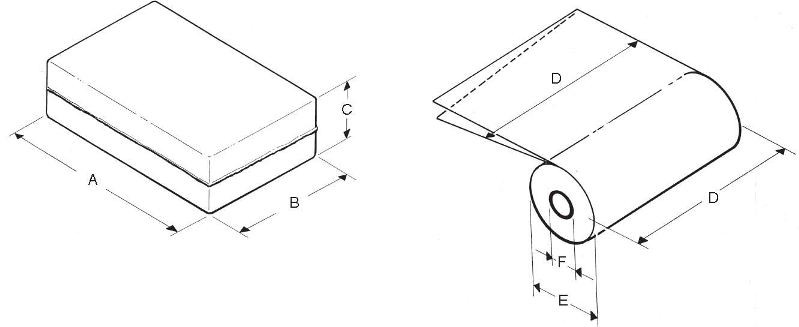
包装容量:

- 最小包装尺寸:(A×B×C) 50×50×1mm
- 最大尺寸:(A×B×C) 550×420×200mm
- 物体:L500×W370×H150;W+H≤500
- 最大注释:B+C 必须不超过550mm
- 不能用最大的尺寸A×B×C来做包装袋
薄膜参数
类型:单层折叠POF膜
厚度:0.015~0.019mm
尺寸(D×E×F):600×250×75 mm
电器配置
中间继电器:法国“施耐德”或日本“OMRON”
接触器:法国“施耐德”
按钮开关:法国“施耐德”
温控仪和继电器:台湾“工宝”
电机:美华
气动元件:台湾“AirTAC”
机器的组成部分

- 透明罩盖
- 金属丝网
- 机身
- 控制面板
- 工作台
- 置膜轴
- 置膜装置
- 磁感应
- 总开关
- 带插座的电源线
- 电磁铁
随机配件
| No. | 品名 | English | 型号 | 数量 | 备注 |
| 1 | 高温胶布 | High temperature tape | 20 100 036 | 1 | |
| 2 | 黑色矽胶条 | High temperature tape | 69 400 110 | 1 | |
| 3 | 加热丝 | Heating wire | 69 300 080 | 1 | |
| 4 | 工具包 | Toolkit | Φ2 扳手 | 1 |
推荐采购配件:
| No. | 品名 | English specification | 型号 | 数量 | 销售单价(美金) |
| 1 | 高温胶布 | High temperature tape | 20 100 003 | 1m | 73/平方米 |
| 2 | 黑色矽胶条 | Black silicone | 69 400 110 | 0.16KG | 0.9 |
| 3 | 亚克力罩 | Acrylic cover | 15 310 103 | 1 | 60 |
| 4 | 泡沫卷 | Foam roll | 69 200 003 | 1 | 1 |
| 5 | 气弹簧 | air spring | 69 400 013 | 1 | 1.4 |
| 6 | 加热管(进口) | heating tube | 69.400.020 | 3 | 20 |
| 7 | 热电偶 | Thermocouple | 69 400 166 | 1 | 7 |
| 8 | 滚针轮 | Needle wheel | 69 900 002 | 2 | 10 |
| 9 | 泡沫轮 | Foam wheel | 69 900 121 | 2 | 11.4 |
| 10 | 加热片插条(短) | Heating piece cutting(short) | 15 300 201 | 1 | 10.1 |
| 11 | 加热片插条 (长) | Heating piece cutting(long) | 15 300 202 | 1 | 10.8 |
| 12 | 加热丝 | Heating wire | 69 300 080 | 1 | 1.2 |
| 13 | 加热片转角卡块 | Heating plate corner block Card | 69 200 002 | 1 | 1.5 |
| 14 | 时间继电器 | Time relay | 2 | 19 | |
| 15 | 温控旷 | temperature-controlled | 1 | 32 |
